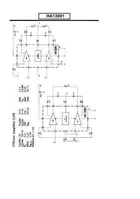
HA13001
Αριθμός είδους.: 020060

1 από 1

ППЦ:
€
€
9.82
€
Валидност на промоцията
до
Σε απόθεμα
Παράδοση και Πληρωμή
Βιαστείτε, έχουν απομείνει μόνο 21 μονάδες!
Προσθήκη στα Αγαπημένα
Τα αγαπημένα σας προϊόντα Ασφαλής πληρωμή μέσω:
Παράδοση οπουδήποτε στον κόσμο:
Περιγραφή
PWR. AMP. 1x17.5W 4ohm 18;